Switching Diode Characteristics

Pdf Bas16 Datasheet Diode Datasheetspdf Com

Diodes Learn Sparkfun Com

Diodes


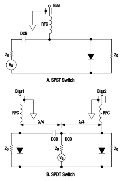
How And Why To Use Pin Diodes For Rf Switching Digikey

Surface Mount Fast Switching Diode Reverse Voltage

Lecture 4 Semiconductor Power Switching Devices 1

Pdf 1n4148wt Datasheet Diode Datasheetspdf Com

How And Why To Use Pin Diodes For Rf Switching Digikey

Pn Junction Diode Switching Characteristics

Switching Characteristics Of A Pin Diode Both Turn On Left

Ideal Insulated Gate Bipolar Transistor For Switching

Freewheeling Diode An Overview Sciencedirect Topics

What Is An Ideal Diode

Diodes An Overview Sciencedirect Topics

What Is Ideal Diode And Real Diode V I Characteristics
Comments
Post a Comment